120K H3 Pump Breakdown - 2008
Click On a Part Number Below for Details
NOTE: If the part number you select is not linked to the shopping cart,call toll-free 866-698-4070 for availability.
| Item # | Part Number - Description | Price | |
|---|---|---|---|
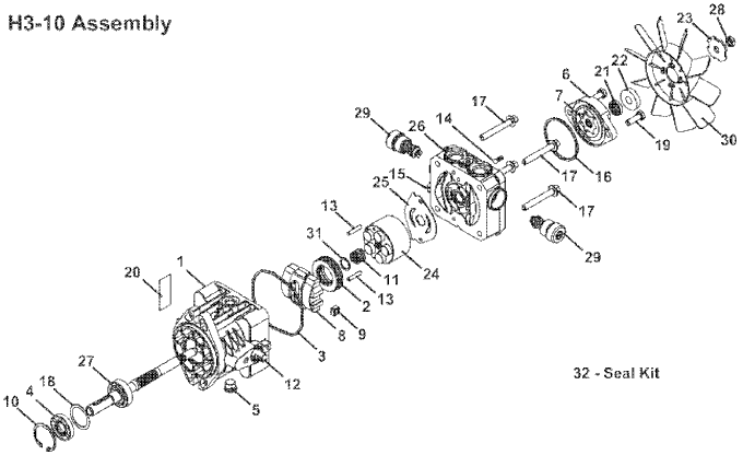
| 1 | 130460 - H3 Housing Assembly | Call For Details | |
| 2 | 130413 - Thrust Bearing | Add To Cart | |
| 3 | 130457 - Seal Ring | Add To Cart | |
| 4 | 125366 - Input Seal | Add To Cart | |
| 5 | 130447 - O-Ring | Add To Cart | |
| 6 | 130410 - H3 Charge Cover | Call For Details | |
| - | 130422 - Charge Cover | Call For Details | |
| 7 | 130428 - H3 Gerotor Set | Call For Details | |
| 8 | 130415 - H1 Swashblock | Call For Details | |
| 9 | 130417 - H1 Control Block | Call For Details | |
| 10 | 130405 - H1 Input Seal Retaining Ring | Add To Cart | |
| 11 | 130473 - Spring | Call For Details | |
| 12 | 130419 - Trunnion Arm | Add To Cart | |
| - | 125359 - Trunnion Seal | Add To Cart | |
| - | 130402 - Retaining Ring | Add To Cart | |
| 13 | 130459 - Dowel Pin | Call For Details | |
| 14 | 130426 - Charge Relief Kit | Add To Cart | |
| 15 | 130448 - Bypass Valve | Add To Cart | |
| - | 130517 - Backup Ring | Add To Cart | |
| - | 130518 - O-Ring | Add To Cart | |
| 16 | 130420 - Charge Cover Seal Ring | Add To Cart | |
| 17 | NOT AVAILABLE | Unavailable | |
| 18 | 130407 - Washer | Add To Cart | |
| 19 | 271023 - Hex HD | Add To Cart | |
| 20 | NOT AVAILABLE | Unavailable | |
| 21 | 125162 - Thru Shaft Seal | Add To Cart | |
| 22 | 130430 - H2 Fan Hub | Add To Cart | |
| 23 | 130432 - Fan Retainer Washer | Add To Cart | |
| 24 | 130467 - Shaft & Barrel Assembly - Thru Shaft | Call For Details | |
| - | 130466 - Shaft & Barrel Assembly | Call For Details | |
| 25 | 130453 - Port Plate | Add To Cart | |
| 26 | 130441 - H3 Left End Block | Call For Details | |
| - | 130442 - H3 Right End Block | Call For Details | |
| 27 | 130476 - H3 Shaft Assembly | Call For Details | |
| - | 130477 - H3 Thru Shaft Assembly | Call For Details | |
| 28 | 253461 - Nylon Insert Nut | Add To Cart | |
| 29 | 000000 - NOT AVAILABLE | Call For Details | |
| - | 126540 - O-Ring | Add To Cart | |
| 30 | 000000 - NOT AVAILABLE | Call For Details | |
| 31 | 130479 - Thrust Washer | Add To Cart | |
| 32 | 130401 - H1 Seal Kit | Add To Cart |