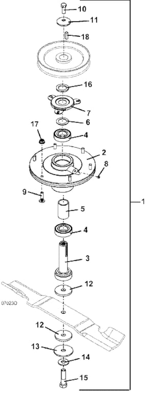
124 Blade Spindle Assembly for 41 Inch Decks - 2018
Click On a Part Number Below for Details
NOTE: If the part number you select is not linked to the shopping cart,call toll-free 866-698-4070 for availability.
| Item # | Part Number - Description | Price | |
|---|---|---|---|
| 1 | 623760 - M1-48 right/left Spindle Assembly | Add To Cart | |
| 2 | 604412 - Aluminum Spindle Housing Assembly | Add To Cart | |
| 3 | 604764 - 25mm 4.75 Spindle Shaft Assembly | Add To Cart | |
| 4 | 110081 - 25mm 2 Regular Seal Ball Bearing | Add To Cart | |
| 5 | 903645 - Shallow Spacer Bearing Spacer | Add To Cart | |
| 6 | 257106 - Washer | Add To Cart | |
| 7 | 721167 - Bearing Shield | Add To Cart | |
| 8 | 259305 - Set Screw | Add To Cart | |
| 9 | 247141 - Round Head Ribbed Neck Bolt | Add To Cart | |
| 10 | 243331 - Hex Bolt | Add To Cart | |
| 11 | 257041 - Cupped Washer | Add To Cart | |
| 12 | 421200 - Fiber Washer | Add To Cart | |
| 13 | 257061 - Washer | Add To Cart | |
| 14 | 257057 - Blade Spindle Hardened Washer | Add To Cart | |
| 15 | 243581 - Hex Bolt | Add To Cart | |
| 16 | 257107 - Washer | Add To Cart | |
| 17 | 253035 - Whiz Nut | Add To Cart | |
| 18 | 281580 - Square Key | Add To Cart |