125 Discharge Spindle Assembly - 2017
Click On a Part Number Below for Details
NOTE: If the part number you select is not linked to the shopping cart,call toll-free 866-698-4070 for availability.
| Item # | Part Number - Description | Price | |
|---|---|---|---|
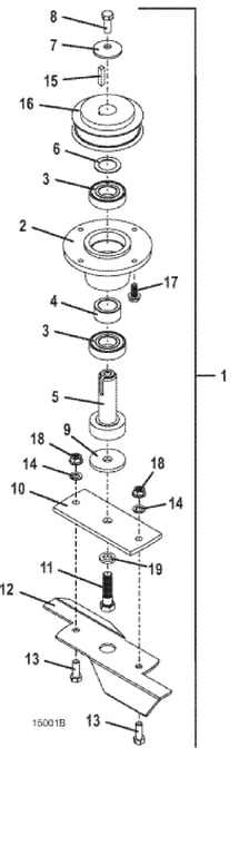
| 1 | 623746 - 100/48R Spindle Assembly | Call For Details | |
| 2 | 320520 - Rear Deck Spindle Housing | Call For Details | |
| 3 | 110081 - 25mm Ball Bearing | Add To Cart | |
| 4 | 282630 - Spacer | Add To Cart | |
| 5 | 605774 - Spindle Shaft Assembly | Call For Details | |
| 6 | 257106 - Washer | Add To Cart | |
| 7 | 257041 - Cupped Washer | Add To Cart | |
| 8 | 243331 - Hex Bolt | Add To Cart | |
| 9 | 421200 - Fiber Washer | Add To Cart | |
| 10 | 776151 - Blade Counter Clockwise Mount | Add To Cart | |
| 11 | 243582 - Left Handed Hex Bolt | Add To Cart | |
| 12 | 766026 - Grassthrower | Add To Cart | |
| 13 | 243330 - Hex Bolt | Add To Cart | |
| 14 | 257412 - Lock Washer | Add To Cart | |
| 15 | 281586 - Square Key | Add To Cart | |
| 16 | 415010 - Flat Sheave | Add To Cart | |
| 17 | 253191 - Hex Flange Whiz Bolt | Add To Cart | |
| 18 | 253044 - Flange Nut | Add To Cart | |
| 19 | 882009 - Washer | Add To Cart |