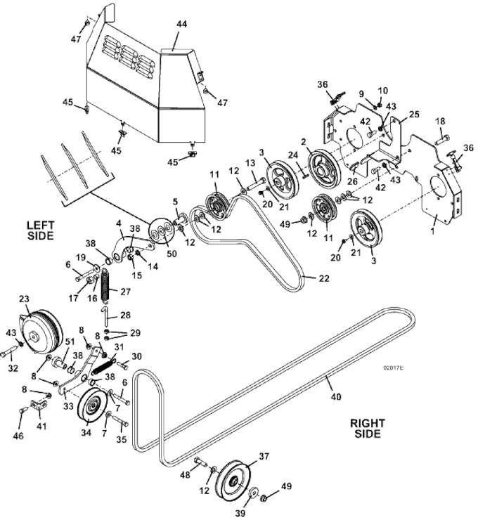
223 / 227 Drive Assembly - diagram 1 - 2009
Click On a Part Number Below for Details
NOTE: If the part number you select is not linked to the shopping cart,call toll-free 866-698-4070 for availability.
| Item # | Part Number - Description | Price | |
|---|---|---|---|
| 1 | 644634 - Pump Plate with Fans - 200 | Call For Details | |
| 2 | 415888 - Sheave | Add To Cart | |
| 3 | 415882 - Sheave | Add To Cart | |
| 4 | 824573 - Idler Arm - 200 Pumps | Add To Cart | |
| 5 | 121651 - Pedestal Bearing | Add To Cart | |
| 6 | 243365 - Hex Bolt .375-16 x 3 | Add To Cart | |
| 7 | 257040 - Washer | Add To Cart | |
| 8 | 253043 - Whiz Nut .375-16 | Add To Cart | |
| 9 | 257412 - Lock Washer | Add To Cart | |
| 10 | 253890 - Lock Nut .375-16 | Add To Cart | |
| 11 | 393195 - Idler Pulley | Add To Cart | |
| 12 | 257062 - Washer | Add To Cart | |
| 13 | 243601 - Full Thread Hex Bolt .500-13 x 3 GR 5 | Add To Cart | |
| 14 | 257432 - Lock Washer | Add To Cart | |
| 15 | 254470 - Nut .500-13 | Add To Cart | |
| 16 | 422558 - Nylon Bearing | Add To Cart | |
| 17 | 253930 - Lock Nut .500-13 | Add To Cart | |
| 18 | 243580 - Hex Bolt .500-13 x 2 | Add To Cart | |
| 19 | 774020 - Washer | Add To Cart | |
| 20 | 270821 - Hex Flange Bolt | Add To Cart | |
| 21 | 257019 - Flat Washer | Add To Cart | |
| 22 | 382034 - Belt | Add To Cart | |
| 23 | 388740 - Electric Clutch | Add To Cart | |
| 24 | 281582 - Square Key | Add To Cart | |
| 25 | 755125 - Anti Rotation Bracket M1 | Add To Cart | |
| 26 | 422088 - Clutch Bracket Cover | Add To Cart | |
| 27 | 283848 - Spring Extension | Add To Cart | |
| 28 | 730391 - Idler Adjustment J Bolt | Add To Cart | |
| 29 | 254450 - Nut .375-16 | Add To Cart | |
| 30 | 243340 - Hex Bolt .375-16 x 1.500 | Add To Cart | |
| 31 | 283820 - Extension Spring with Swivel | Add To Cart | |
| 32 | 243470 - Hex Bolt .437-20 x 2.5 | Add To Cart | |
| 33 | 824486 - Mule Drive Idler Arm | Add To Cart | |
| 34 | 393376 - Idler | Add To Cart | |
| 35 | 243355 - Hex Bolt .375-16 x 2.500 | Add To Cart | |
| 36 | 281301 - Rubber Draw Latch | Add To Cart | |
| 37 | 393390 - Idler Pulley | Add To Cart | |
| 38 | 121756 - Oilite Bearing .754 x .878 x .50 | Add To Cart | |
| 39 | 883804 - Retainer Washer .531 x 1.625 | Add To Cart | |
| 40 | 382085 - Belt - fits 52 Inch and 61 Inch decks | Add To Cart | |
| - | 382095 - Belt - fits 72 inch deck | Add To Cart | |
| 41 | 732520 - Idler Spring Bracket M1 | Add To Cart | |
| 42 | 243445 - Hex Bolt .437-14 x 1 | Add To Cart | |
| 43 | 257422 - Lock Washer | Add To Cart | |
| 44 | 604755 - Rear Shield Assembly - M1 225 | Add To Cart | |
| 45 | 422090 - Rear Belt Shield Isolater | Add To Cart | |
| 46 | 243330 - Hex Bolt .375-16 x 1 | Add To Cart | |
| 47 | 424015 - Rubber Bumper | Add To Cart | |
| 48 | 243575 - Hex Bolt | Add To Cart | |
| 49 | 253066 - Whiz Nut | Add To Cart | |
| 50 | 257319 - Spring Washer | Add To Cart | |
| 51 | 121650 - Pedestal Bearing | Add To Cart |