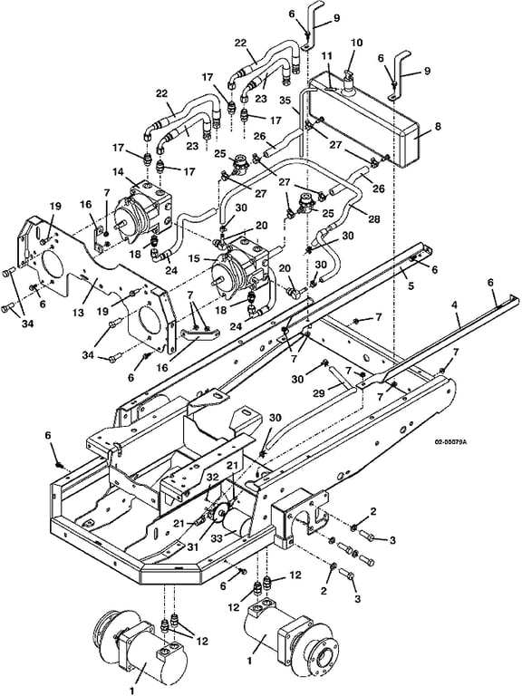
325 Reservoir and Hose Assembly - 2000 & 2001
Click On a Part Number Below for Details
NOTE: If the part number you select is not linked to the shopping cart,call toll-free 866-698-4070 for availability.
| Item # | Part Number - Description | Price | |
|---|---|---|---|
| 1 | 603610 - Wheel Motor with Hub | Add To Cart | |
| 2 | 257442 - Lock Washer | Add To Cart | |
| 3 | 243770 - Hex Bolt .562-18 x 1.75 GR 5 | Call For Details | |
| 4 | 754068 - 300S Tank Rail - right | Call For Details | |
| 5 | 754069 - 300S Tank Rail - left | Call For Details | |
| 6 | 253192 - Hex Flange Whiz Bolt .312-18 x .75 | Add To Cart | |
| 7 | 253035 - Whiz Nut | Add To Cart | |
| 8 | 603606 - Oil Reservoir Assembly - M1 325 / 400 | Add To Cart | |
| - | 363638 - Fitting - 90 degree | Add To Cart | |
| - | 101875 - Fuel Tube Bushing (Grommet) | Add To Cart | |
| - | 360058 - Straight Fitting | Add To Cart | |
| - | 101880 - Reservoir Bushing (Grommet) | Add To Cart | |
| 9 | 732557 - Oil Tank Strap | Call For Details | |
| 10 | 100728 - M1 Oil Reservoir Dipstick | Add To Cart | |
| 11 | 363826 - Straight Barbed Fitting | Add To Cart | |
| 12 | 360069 - Adapter Fitting | Add To Cart | |
| - | 126529 - O Ring | Add To Cart | |
| - | 126537 - O Ring | Add To Cart | |
| 13 | 644633 - Pump Plate - 325 / 400 | Call For Details | |
| 14 | 391452 - Hydro Pump - left | Add To Cart | |
| 15 | 391453 - Hydro Pump - right | Add To Cart | |
| 16 | 732882 - Pump Plate Rein Strap | Add To Cart | |
| 17 | 360064 - Adapter Fitting | Add To Cart | |
| - | 126529 - O Ring | Add To Cart | |
| - | 126535 - O Ring | Add To Cart | |
| 18 | 363832 - Steel O Ring Boss Fitting | Add To Cart | |
| - | 126535 - O Ring | Add To Cart | |
| 19 | 253203 - Flange Whiz Bolt .375-16 x 1 | Add To Cart | |
| 20 | 360062 - Adapter | Call For Details | |
| 21 | 360056 - Adapter | Add To Cart | |
| 22 | 424366 - Hose Assembly | Add To Cart | |
| 23 | 424365 - Hose Assembly | Add To Cart | |
| 24 | 424321 - Hose Assembly | Add To Cart | |
| 25 | 366552 - In-Line Strainer | Add To Cart | |
| 26 | 821795 - .5 Hydraulic Hose | Add To Cart | |
| 27 | 280265 - Spring Hose Clamp | Add To Cart | |
| 28 | 424322 - Hose Assembly | Add To Cart | |
| 29 | 821787 - Hydraulic Hose | Add To Cart | |
| 30 | 280263 - .375 Spring Hose Clamp | Add To Cart | |
| 31 | 101024 - Filter Base - M1 Series | Add To Cart | |
| 32 | 253173 - Hex Whiz Bolt .250-20 x .500 | Add To Cart | |
| 33 | 100855 - High-Efficiency Transaxle Oil Filter | Add To Cart | |
| 34 | 243570 - Hex Bolt .500-13 x 1.500 | Add To Cart | |
| 35 | 821724 - Clear Vent Hose | Add To Cart |