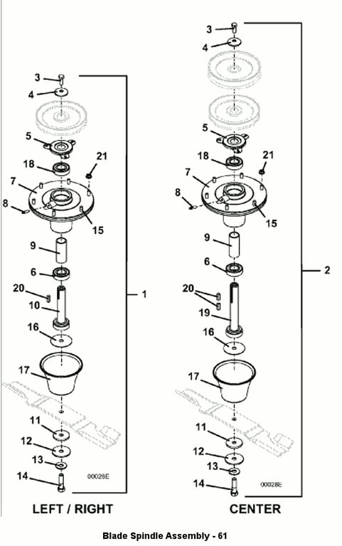
335B Blade Spindle Assembly - M161 - 2008
Click On a Part Number Below for Details
NOTE: If the part number you select is not linked to the shopping cart,call toll-free 866-698-4070 for availability.
| Item # | Part Number - Description | Price | |
|---|---|---|---|
| 1 | 623763 - Left & Right Spindle Assembly (includes items 3-18) | Add To Cart | |
| 2 | 623780 - Center M1 Blade Spindle Assembly, center (includes items 3-9 and 11-19) | Add To Cart | |
| 3 | 243331 - Hex Bolt | Add To Cart | |
| 4 | 257041 - Cupped Washer | Add To Cart | |
| 5 | 721167 - Bearing Shield | Add To Cart | |
| 6 | 110082 - Ball Bearing | Add To Cart | |
| 7 | 320550 - Machined Spindle Housing Assembly 5.0 | Add To Cart | |
| 8 | 280745 - Zerk Grease Fitting | Add To Cart | |
| 9 | 903643 - Deep Spindle Bearing Spacer | Add To Cart | |
| 10 | 604775 - 5.75 Spindle Shaft Assembly | Add To Cart | |
| 11 | 421200 - Fiber Washer | Add To Cart | |
| 12 | 257061 - Washer | Add To Cart | |
| 13 | 257057 - Hardened Blade Spindle Washer | Add To Cart | |
| 14 | 243583 - Hex Bolt | Add To Cart | |
| 15 | 247141 - Round Head Ribbed Neck Bolt | Add To Cart | |
| 16 | 772061 - Washer | Add To Cart | |
| 17 | 423680 - Deflector Cone | Add To Cart | |
| 18 | 110080 - Ball Bearing | Add To Cart | |
| 19 | 604773 - M1 Spindle Shaft Assembly | Add To Cart | |
| 20 | 281582 - Key Square | Add To Cart | |
| 21 | 253035 - Whiz Nut | Add To Cart |