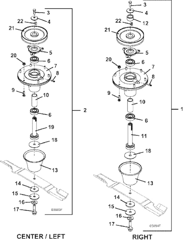
3452R Rear Discharge Deck Blade Spindle Assembly - 2018
Click On a Part Number Below for Details
NOTE: If the part number you select is not linked to the shopping cart,call toll-free 866-698-4070 for availability.
| Item # | Part Number - Description | Price | |
|---|---|---|---|
| 1 | 623762 - Right Spindle Assembly (includes items 3-19) | Add To Cart | |
| 2 | 623763 - Left ' Center Spindle Assembly (includes items 3-10 ' 13-20) | Add To Cart | |
| 3 | 243331 - Hex Bolt | Add To Cart | |
| 4 | 257041 - Cupped Washer | Add To Cart | |
| 5 | 721167 - Bearing Shield | Add To Cart | |
| 6 | 110081 - 25mm 2 Reg. Seal Ball Bearing | Add To Cart | |
| 7 | 604413 - Aluminum Spindle Housing Assembly | Add To Cart | |
| 8 | 280745 - Zerk Grease Fitting | Add To Cart | |
| 9 | 247141 - Ribbed Neck Round Head Bolt | Add To Cart | |
| 10 | 903643 - Deep Spindle Bearing Spacer | Add To Cart | |
| 11 | 604774 - 98 Series Spindle Shaft Assembly | Add To Cart | |
| 12 | 282630 - Spacer | Add To Cart | |
| 13 | 423680 - Deflector Cone | Add To Cart | |
| 14 | 421200 - Fiber Washer | Add To Cart | |
| 15 | 257061 - Washer | Add To Cart | |
| 16 | 257057 - Hardened-Blade Spindle Washer | Add To Cart | |
| 17 | 243583 - Grade 8 Flange Hex Bolt | Add To Cart | |
| 18 | 257055 - Washer | Add To Cart | |
| 19 | 604775 - 5.75 Spindle Shaft Assembly | Add To Cart | |
| 20 | 253035 - Whiz Nut | Add To Cart | |
| 21 | 415892 - Sheave | Add To Cart | |
| 22 | 281580 - Square Key | Add To Cart |