428D Blade Spindle Assembly M161 - 2006
Click On a Part Number Below for Details
NOTE: If the part number you select is not linked to the shopping cart,call toll-free 866-698-4070 for availability.
| Item # | Part Number - Description | Price | |
|---|---|---|---|
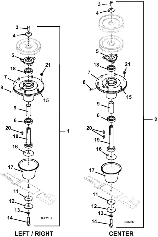
| 1 | 623763 - Spindle Assembly, left & right (includes items 3-18) | Add To Cart | |
| 2 | 623780 - Spindle Assembly, center (includes items 3-9 & 11-19) | Add To Cart | |
| 3 | 243331 - Hex Bolt | Add To Cart | |
| 4 | 257041 - Cupped Washer | Add To Cart | |
| 5 | 721167 - Bearing Shield | Add To Cart | |
| 6 | 110082 - Ball Bearing 25mm | Add To Cart | |
| 7 | 604421 - Spindle Housing Assembly with Studs | Add To Cart | |
| 8 | 280745 - Grease Fitting 1/4-28 x 1.125 | Add To Cart | |
| 9 | 903643 - Deep Spindle Bearing Spacer | Add To Cart | |
| 10 | 604775 - Spindle Shaft Assembly | Add To Cart | |
| 11 | 421200 - Fiber Washer | Add To Cart | |
| 12 | 257061 - Washer | Add To Cart | |
| 13 | 257432 - Lock Washer | Add To Cart | |
| 14 | 243581 - Hex Bolt .500-20 x 2 | Add To Cart | |
| 15 | 247141 - Stud Bolt .312-18 x 1.25 | Add To Cart | |
| 16 | 772061 - Washer | Add To Cart | |
| 17 | 423680 - Deflector Cone | Add To Cart | |
| 18 | 110080 - 25mm 2 Seal Metal Ball Bearing | Add To Cart | |
| 19 | 604773 - Spindle Shaft Assembly | Add To Cart | |
| 20 | 281582 - Square Key .250 x .875 | Add To Cart | |
| 21 | 253035 - Whiz Nut | Add To Cart |