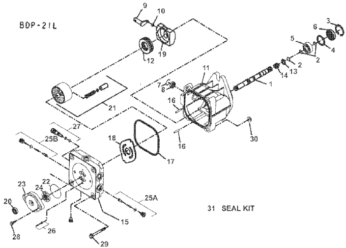
432 Pump Assembly - 2006
Click On a Part Number Below for Details
NOTE: If the part number you select is not linked to the shopping cart,call toll-free 866-698-4070 for availability.
| Item # | Part Number - Description | Price | |
|---|---|---|---|
| 1 | 130178 - Tapered Shaft Sub Assembly | Call For Details | |
| 2 | 130170 - Wire Retaining Ring | Add To Cart | |
| 3 | 130088 - Seal Retaining Ring | Add To Cart | |
| 4 | 130086 - Spacer | Add To Cart | |
| 5 | 130080 - Input Bearing | Add To Cart | |
| 6 | 125363 - Input Seal | Add To Cart | |
| 7 | 130028 - Seal Retaining Ring | Call For Details | |
| 8 | 125360 - Trunnion Seal | Add To Cart | |
| 9 | 130035 - Trunnion Arm | Call For Details | |
| 10 | 130065 - Slot Guide | Add To Cart | |
| 11 | 130056 - Housing | Call For Details | |
| 12 | 130012 - Thrust Bearing | Add To Cart | |
| 13 | 130220 - Block Thrust Washer | Add To Cart | |
| 14 | 130015 - Block Spring | Add To Cart | |
| 15 | 130040 - End Cap | Call For Details | |
| - | 130047 - End Cap (without plate) | Call For Details | |
| 16 | 130046 - Dowel Pin | Add To Cart | |
| 17 | 130180 - Square Cut Seal Ring | Add To Cart | |
| 18 | 130210 - Valve Plate | Add To Cart | |
| 19 | 000000 - NOT AVAILABLE | Call For Details | |
| 20 | 125165 - Seal | Add To Cart | |
| 21 | 130150 - Cylinder Block Kit | Add To Cart | |
| 22 | 130020 - Seal Ring | Add To Cart | |
| 23 | 130022 - Charge Cover | Add To Cart | |
| 24 | 130060 - Gerotor Set | Add To Cart | |
| 25 | 130156 - Check Valve Kit | Add To Cart | |
| - | 130031 - Check Plug O-Ring | Add To Cart | |
| 26 | 130027 - charge Relief Kit | Add To Cart | |
| 27 | 000000 - NOT AVAILABLE | Call For Details | |
| - | 130017 - Bypass Valve Backup Ring | Add To Cart | |
| - | 130018 - Bypass Valve O-Ring | Add To Cart | |
| 28 | 243205 - Hex Screw | Add To Cart | |
| 29 | 000000 - NOT AVAILABLE | Call For Details | |
| 30 | 130075 - Hex Flange Nut | Call For Details | |
| 31 | 130177 - Seal Kit | Add To Cart |