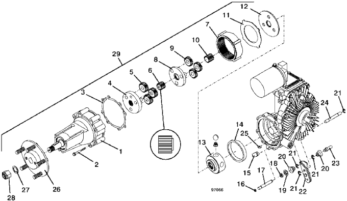
616 Final Drive Assembly - 1999
Click On a Part Number Below for Details
NOTE: If the part number you select is not linked to the shopping cart,call toll-free 866-698-4070 for availability.
| Item # | Part Number - Description | Price | |
|---|---|---|---|
| 1 | 391706 - NOT AVAILABLE | Call For Details | |
| - | 391704 - Axle Housing Assembly | Add To Cart | |
| 2 | 250459 - Machine Screw | Add To Cart | |
| 3 | 420344 - Axle Housing Gasket | Add To Cart | |
| 4 | 392806 - NOT AVAILABLE | Call For Details | |
| - | 392840 - Secondary Planetary Assembly - NOT AVAILABLE | Call For Details | |
| 5 | 392834 - Secondary Planetary Gear | Add To Cart | |
| - | 392837 - Secondary Planetary PM Gear - OBSOLETE | Add To Cart | |
| 6 | 392831 - Secondary Sun-Finished Steel Gear | Add To Cart | |
| - | 392832 - Secondary Sun-Finished PM Gear | Add To Cart | |
| 7 | 392838 - Double Ring Gear | Add To Cart | |
| 8 | 392805 - NOT AVAILABLE | Add To Cart | |
| 9 | 392823 - Primary Planetary Gear | Add To Cart | |
| - | 392824 - Primary Planetary Gear | Add To Cart | |
| 10 | 392821 - Primary Sun-Finished Steel Gear w/out Pin | Add To Cart | |
| 11 | 103731 - Back-Up Plate - NOT AVAILABLE | Add To Cart | |
| 12 | 103723 - Composite Reaction Plate | Add To Cart | |
| 13 | 103775 - Rotor Motor | Add To Cart | |
| 14 | 123758 - Cup Bearing | Add To Cart | |
| 15 | 103729 - NOT AVAILABLE | Call For Details | |
| 16 | 125160 - Quad Seal | Add To Cart | |
| 17 | 000000 - NOT AVAILABLE | Call For Details | |
| 18 | 000000 - NOT AVAILABLE | Call For Details | |
| 19 | 103726 - Base Spring | Add To Cart | |
| 20 | 103692 - Conical Spring | Add To Cart | |
| 21 | 263489 - External Retainer | Add To Cart | |
| 22 | 103725 - NOT AVAILABLE | Call For Details | |
| 23 | 000000 - NOT AVAILABLE | Call For Details | |
| 24 | 103724 - Brake Pivot Rod | Call For Details | |
| 25 | 102501 - Magnet | Call For Details | |
| - | 423147 - Tie | Call For Details | |
| 26 | 603429 - Tapered 5 Bolt Hub Assembly | Add To Cart | |
| - | 248570 - Stud Wheel Bolt | Add To Cart | |
| - | 603423 - 4 Bolt Hub Assembly | Add To Cart | |
| 27 | 257091 - 14 Gauge Bushing Washer | Add To Cart | |
| 28 | 253501 - Nylon Insert Nut | Add To Cart | |
| 29 | 603339 - Final Drive Assembly - 700 Series - NOT AVAILABLE | Add To Cart | |
| - | 603335 - Final Drive Assembly - 600 Series - NOT AVAILABLE | Call For Details |