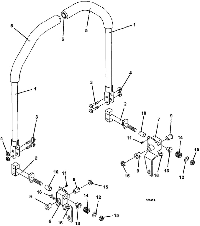
718K 720K 725K Steering Assembly  - 1997
Click On a Part Number Below for Details
NOTE: If the part number you select is not linked to the shopping cart, call toll-free 866-698-4070 for availability.
| Item # | Part Number - Description | Price | |
|---|---|---|---|
| 1 | 643497 - Steering Lever | Add To Cart | |
| 2 | 643926 - Steering Lever Adjustable Mount | Add To Cart | |
| 3 | 253195 - Hex Flange Whiz Bolt | Add To Cart | |
| 4 | 253035 - Whiz Nut | Add To Cart | |
| 5 | 422179 - Handle Grip | Call For Details | |
| 6 | 422095 - .75 inch ID Vinyl Cap | Call For Details | |
| 7 | 604771 - right Steering Pivot with Stop Bearings | Add To Cart | |
| 8 | 604772 - left Steering Pivot with Stop Bearings | Add To Cart | |
| 9 | 422559 - Sleeve Bearing with Flange | Add To Cart | |
| 10 | 422557 - Sleeve Bearing | Add To Cart | |
| 11 | 259305 - Set Screw | Add To Cart | |
| 12 | 257063 - Washer | Add To Cart | |
| 13 | 422556 - Sleeve Bearing with Flange | Add To Cart | |
| 14 | 283324 - Compression Spring | Add To Cart | |
| 15 | 253470 - Nut with Nylon Insert | Add To Cart | |
| 16 | 243197 - Hex Bolt | Add To Cart |