721D Counterweight Mount Kit  - 1991
Click On a Part Number Below for Details
NOTE: If the part number you select is not linked to the shopping cart, call toll-free 866-698-4070 for availability.
| Item # | Part Number - Description | Price | |
|---|---|---|---|
| - | 503220 - Counterweight Mount Kit | Add To Cart | |
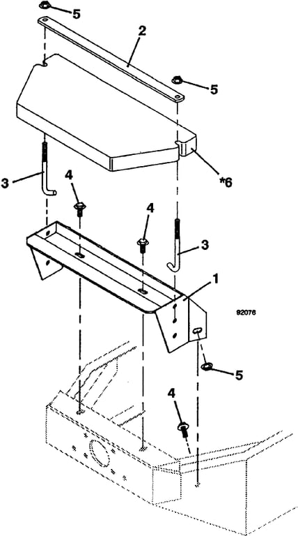
| 1 | 643915 - Weight Mount | Add To Cart | |
| 2 | 729691 - Weight Cover | Add To Cart | |
| 3 | 240151 - Hook Bolt | Add To Cart | |
| 4 | 253203 - Whiz Bolt | Add To Cart | |
| 5 | 253043 - Whiz Nut | Add To Cart | |
| 6 | 503218 - Counterweight - 50 lbs. (Not Included in Kit) | Add To Cart |