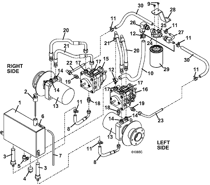
727K2 Reservoir & Hose Assembly - 2004
Click On a Part Number Below for Details
NOTE: If the part number you select is not linked to the shopping cart, call toll-free 866-698-4070 for availability.
| Item # | Part Number - Description | Price | |
|---|---|---|---|
| 1 | 603703 - 700G2 Reservoir Assembly | Add To Cart | |
| 2 | 100729 - Plastic Dipstick for Oil Reservoir | Add To Cart | |
| 3 | 366556 - Strainer | Add To Cart | |
| 4 | 365535 - 1 inch Threaded Plug | Add To Cart | |
| 5 | 363853 - Nylon Fitting | Add To Cart | |
| 6 | 363826 - Barbed Straight Fitting | Add To Cart | |
| 7 | 821724 - Clear Vent Hose | Add To Cart | |
| 8 | 424331 - Hose Assembly | Add To Cart | |
| 9 | 253173 - Hex Whiz Bolt | Add To Cart | |
| 10 | 821804 - .75 Hydraulic Hose | Add To Cart | |
| 11 | 280265 - Spring Hose Clamp | Add To Cart | |
| 12 | 280268 - Spring Hose Clamp | Add To Cart | |
| 13 | 603602 - Wheel Motor with Hub | Add To Cart | |
| 14 | 360063 - O-Ring Adapter | Add To Cart | |
| - | 126527 - O-Ring | Add To Cart | |
| - | 126537 - O-Ring | Add To Cart | |
| 15 | 391463 - Hydro Pump - right | Add To Cart | |
| - | 125165 - Seal | Add To Cart | |
| - | 130020 - Square Charge Cover Seal Ring | Add To Cart | |
| 16 | 391462 - Hydro Pump - left | Add To Cart | |
| - | 125165 - Seal | Add To Cart | |
| - | 130020 - Square Charge Cover Seal Ring | Add To Cart | |
| 17 | 360064 - Fitting Adapter | Add To Cart | |
| - | 126529 - O-Ring | Add To Cart | |
| - | 126535 - O-Ring | Add To Cart | |
| 18 | 363832 - Steel O-Ring Boss Fitting | Add To Cart | |
| 19 | 360081 - Fitting Adapter | Add To Cart | |
| 20 | 424371 - Hose Assembly | Add To Cart | |
| 21 | 424372 - Hose Assembly | Add To Cart | |
| 22 | 424602 - Tube Assembly | Add To Cart | |
| 23 | 424603 - Tube Assembly | Add To Cart | |
| 24 | 101020 - Filter Base Assembly G2 | Add To Cart | |
| 25 | 101027 - Filter Base | Add To Cart | |
| 26 | 360076 - 12 Bead O-Ring Adapter | Call For Details | |
| 27 | 360074 - O-Ring Adapter with 90 degree Elbow | Add To Cart | |
| 28 | 733124 - Oil Filter Base | Call For Details | |
| 29 | 100860 - Transmission Oil Filter | Add To Cart | |
| 30 | 821799 - Hydraulic Hose | Add To Cart |