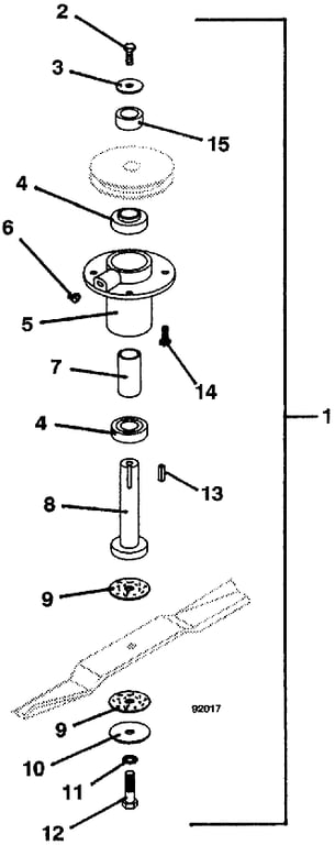
9148 Deck Blade Spindle Assembly - 1992
Click On a Part Number Below for Details
NOTE: If the part number you select is not linked to the shopping cart, call toll-free 866-698-4070 for availability.
Item # | Part Number - Description | Price | |
---|---|---|---|
1 | 623785 - Blade Spindle Assembly (includes items 2-12) | Add To Cart | |
2 | 243331 - Hex Bolt | Add To Cart | |
3 | 257041 - Cupped Washer | Add To Cart | |
4 | 120081 - Ball Bearing without Fluid Seal | Add To Cart | |
5 | 320526 - Grease Spindle Housing | Add To Cart | |
6 | 280734 - Zerk Grease Fitting | Add To Cart | |
7 | 903640 - Bearing Tube Spacer | Add To Cart | |
8 | 603775 - Blade Std Spindle Shaft | Add To Cart | |
9 | 421200 - Fiber Washer | Add To Cart | |
10 | 257061 - Washer | Add To Cart | |
11 | 257432 - Lock Washer | Add To Cart | |
12 | 243581 - Hex Bolt | Add To Cart | |
13 | 281580 - Square Key | Add To Cart | |
14 | 253192 - Hex Flange Whiz Bolt | Add To Cart | |
15 | 282630 - Spacer | Add To Cart |