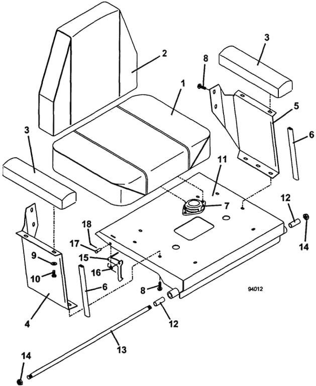
928D Seat Assembly  - 1995
Click On a Part Number Below for Details
NOTE: If the part number you select is not linked to the shopping cart, call toll-free 866-698-4070 for availability.
| Item # | Part Number - Description | Price | |
|---|---|---|---|
| 1 | 321515 - Formed Seat Cushion | Add To Cart | |
| 2 | 321511 - Back Cushion | Add To Cart | |
| 3 | 321501 - Seat Armrest | Add To Cart | |
| 4 | 724310 - right Seat Side Member | Add To Cart | |
| 5 | 724311 - left Seat Side Member | Add To Cart | |
| 6 | 822630 - Seat Edge Trim | Add To Cart | |
| 7 | 183870 - Seat Switch | Add To Cart | |
| 8 | 253193 - Hex Flange Whiz Bolt | Add To Cart | |
| 9 | 257410 - External Star Washer | Add To Cart | |
| 10 | 243195 - Hex Bolt | Add To Cart | |
| 11 | 643911 - 928 Seat W/A | Call For Details | |
| 12 | 422615 - Nylon Bearing | Add To Cart | |
| 13 | 780673 - 700 Foot Platform Pivot Rod | Call For Details | |
| 14 | 253470 - Nylon Insert Nut | Add To Cart | |
| 15 | 724112 - Seat Latch | Add To Cart | |
| 16 | 284408 - Torsion Spring | Add To Cart | |
| 17 | 261278 - Clevis Pin | Call For Details | |
| 18 | 260648 - Cotter Pin | Add To Cart | |
| 19 | 603759 - 928 Seat Assembly | Call For Details |