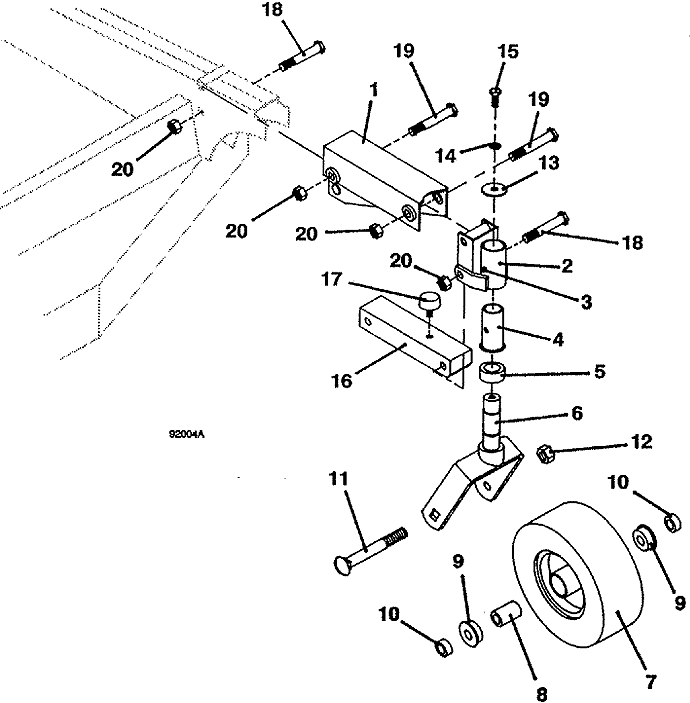
9352 Wheel Lift Assembly - 1995
Click On a Part Number Below for Details
NOTE: If the part number you select is not linked to the shopping cart, call toll-free 866-698-4070 for availability.
Item # | Part Number - Description | Price | |
---|---|---|---|
1 | 643500 - Lift Channel - Upper Right | Add To Cart | |
- | 643501 - Lift Channel - Upper Left | Add To Cart | |
2 | 603351 - Fork Mount - Right | Add To Cart | |
- | 603352 - Fork Mount - Left | Add To Cart | |
3 | 280776 - Zerk Grease Fitting | Add To Cart | |
4 | 833260 - Flanged Bushing | Add To Cart | |
5 | 902541 - Spacer | Add To Cart | |
6 | 604350 - Fork | Add To Cart | |
- | 425514 - O Ring | Add To Cart | |
7 | 603971 - Wheel & Tire Assembly w/Bearings & Spacer | Add To Cart | |
8 | 902473 - Spacer | Add To Cart | |
9 | 120050 - Bearing | Add To Cart | |
10 | 902415 - Spacer | Add To Cart | |
11 | 247715 - Carriage Bolt | Add To Cart | |
12 | 253970 - Lock Nut | Add To Cart | |
13 | 774014 - Washer | Add To Cart | |
14 | 257412 - Lock Washer | Add To Cart | |
15 | 243331 - Bolt | Add To Cart | |
16 | 822312 - Stabilizer with Bumper | Add To Cart | |
17 | 424052 - Rubber Bumper | Add To Cart | |
18 | 243609 - Bolt | Add To Cart | |
19 | 243614 - Bolt | Add To Cart | |
20 | 253930 - Lock Nut | Add To Cart |