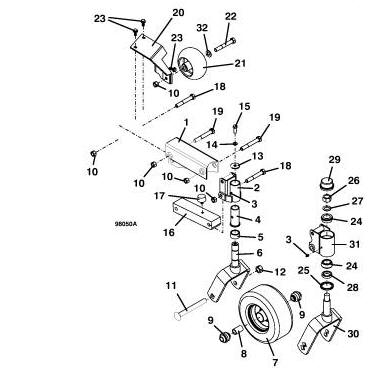
9652 52 Inch Deck - Year Model: 2000
Item # | Part Number - Description | Price | |
---|---|---|---|
1 | 643500 - LIFT CHANNEL - UPPER RT | Add To Cart | |
643501 - LIFT CHANNEL - UPPER LT | Add To Cart | ||
2 | 603351 - FORK MOUNT W/BEARING RT | Add To Cart | |
603352 - FORK MOUNT W/BEARING LT | Add To Cart | ||
3 | 280776 - FITTING GREASE | Add To Cart | |
4 | 833260 - BUSHING - FLANGED SINTERED | Add To Cart | |
5 | 902541 - SPACER | Add To Cart | |
6 | 604350 - FORK - DECK 90 SERIES | Add To Cart | |
425514 - O-RING | Add To Cart | ||
7 | 603973 - WHEEL ASSY DK DP BRG SEMI-PNEU | Add To Cart | |
8 | 902428 - SPACER - CENTER AXLE | Add To Cart | |
9 | 120048 - BEARING - BALL DP WHEEL | Add To Cart | |
10 | 253930 - NUT LOCK | Add To Cart | |
11 | 247715 - CARRIAGE BOLT | Add To Cart | |
12 | 253970 - NUT LOCK | Add To Cart | |
13 | 774014 - WASHER | Add To Cart | |
14 | 257412 - WASHER - LOCK | Add To Cart | |
15 | 243331 - HEX BOLT | Add To Cart | |
16 | 822312 - STABILIZER W/BUMPER - DECK | Add To Cart | |
17 | 424052 - RUBBER BUMPER | Add To Cart | |
18 | 243609 - HEX BOLT | Add To Cart | |
19 | 243614 - HEX BOLT | Add To Cart | |
20 | 284627 - ROLLER MT-ANTI SCALP 9561 | Call For Details | |
21 | 484225 - WHEEL - ANTI - SCALP OFFEST HUB | Add To Cart | |
22 | 243610 - HEX BOLT | Add To Cart | |
23 | 253192 - BOLT WHIZ HEX FLANGE | Add To Cart | |
253035 - NUT WHIZ | Add To Cart | ||
24 | 122522 - BEARING - TAPER | Add To Cart | |
25 | 125855 - SEAL | Add To Cart | |
26 | 253992 - NUT LOCK | Add To Cart | |
27 | 257091 - WASHER - 14 GA BUSHING | Add To Cart | |
28 | 282615 - SPACER | Add To Cart | |
29 | 481432 - CAP - DUST | Add To Cart | |
30 | 644221 - FORK - TAPERED BEARING | Add To Cart | |
31 | 824982 - FORK HOUSING - DECK HD | Add To Cart | |
824981 - FORK HOUSING - MACHINED LT | Add To Cart | ||
32 | 257062 - WASHER | Add To Cart |