9772 Model Deck Blade Spindle Assembly - 2004
Click On a Part Number Below for Details
NOTE: If the part number you select is not linked to the shopping cart, call toll-free 866-698-4070 for availability.
Item # | Part Number - Description | Price | |
---|---|---|---|
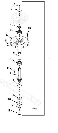
1 | 623786 - SPINDLE ASSY - BLADE LT/RT M1 | Add To Cart | |
2 | 243331 - HEX BOLT | Add To Cart | |
3 | 257041 - WASHER - CUPPED | Add To Cart | |
4 | 110082 - BEARING - BALL SINGLE SEAL | Add To Cart | |
5 | 824150 - DEEP SPINDLE - MACHINED | Add To Cart | |
6 | 280745 - FITTING GREASE | Add To Cart | |
7 | 903643 - SPACER - BEARING DEEP SPINDLE | Add To Cart | |
8 | 604774 - SPINDLE - SHAFT ASSY 98 S | Add To Cart | |
9 | 421200 - WASHER - FIBER | Add To Cart | |
10 | 257061 - WASHER | Add To Cart | |
11 | 257432 - WASHER - LOCK | Add To Cart | |
12 | 243581 - HEX BOLT | Add To Cart | |
13 | 282615 - SPACER | Add To Cart | |
14 | 281586 - KEY SQUARE | Add To Cart | |
15 | 253192 - BOLT WHIZ HEX FLANGE | Add To Cart |