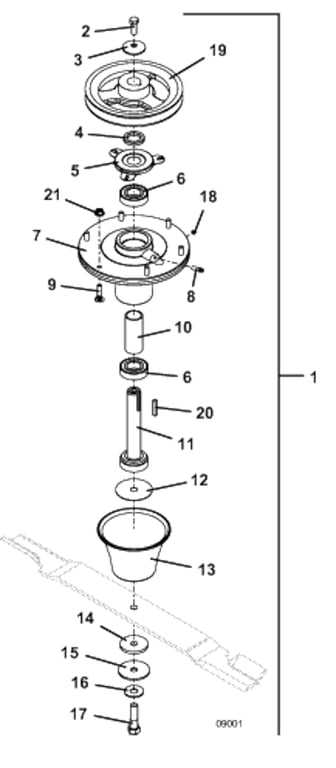
Blade Spindle Assembly 3472R Front Mount Deck - 2009
Click On a Part Number Below for Details
NOTE: If the part number you select is not linked to the shopping cart,call toll-free 866-698-4070 for availability.
Item # | Part Number - Description | Price | |
---|---|---|---|
1 | 623757 - 3472 Blade Spindle Assembly (includes items 2-18) | Add To Cart | |
2 | 243331 - Hex Bolt | Add To Cart | |
3 | 257041 - Cupped Washer | Add To Cart | |
4 | 282607 - Spacer | Add To Cart | |
5 | 721167 - Bearing Shield | Add To Cart | |
6 | 110081 - 25mm 2 Reg Seal Ball Bearing | Add To Cart | |
7 | 604413 - Aluminum Spindle Housing Assembly | Add To Cart | |
8 | 280745 - Zerk Grease Fitting | Add To Cart | |
9 | 247141 - Ribbed Neck Round Head Bolt | Add To Cart | |
10 | 903643 - Deep Spindle Bearing Spacer | Add To Cart | |
11 | 604774 - 98 Series Spindle Shaft Assembly | Add To Cart | |
12 | 772061 - Washer | Add To Cart | |
13 | 423680 - Deflector Cone | Add To Cart | |
14 | 421200 - Fiber Washer | Add To Cart | |
15 | 257061 - Washer | Add To Cart | |
16 | 257057 - Blade Spindle Hardened Washer | Add To Cart | |
17 | 243583 - Grade 8 Flange Hex Bolt | Add To Cart | |
18 | 280705 - Relief Plug | Add To Cart | |
19 | 414745 - Sheave | Add To Cart | |
20 | 281583 - Square Key | Add To Cart | |
21 | 253035 - Whiz Nut | Add To Cart |