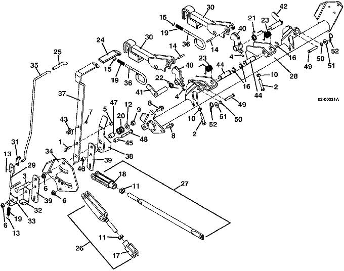
Lift Arm Assembly Grasshopper 9852 Deck - 2003
Click On a Part Number Below for Details
NOTE: If the part number you select is not linked to the shopping cart, call toll-free 866-698-4070 for availability.
Item # | Part Number - Description | Price | |
---|---|---|---|
1 | 243210 - Hex Bolt | Add To Cart | |
2 | 243347 - Hex Bolt | Add To Cart | |
3 | 243600 - Hex Bolt | Add To Cart | |
4 | 250169 - Hex Machine Screw | Add To Cart | |
5 | 253035 - Whiz Nut | Add To Cart | |
6 | 253043 - Whiz Nut | Add To Cart | |
7 | 252041 - #8 Screw | Add To Cart | |
8 | 253203 - Flange Whiz Bolt | Add To Cart | |
9 | 253930 - Lock Nut | Add To Cart | |
10 | 254450 - Nut | Add To Cart | |
11 | 254493 - Nut | Add To Cart | |
12 | 257062 - Washer | Add To Cart | |
13 | 260624 - Cotter Pin | Add To Cart | |
14 | 261016 - Roll Pin | Add To Cart | |
15 | 263490 - External Retainer | Add To Cart | |
16 | 263529 - External Retainer | Add To Cart | |
17 | 265565 - Clevis Yoke | Add To Cart | |
18 | 265566 - Long Clevis Yoke | Call For Details | |
19 | 283285 - Compression Spring | Add To Cart | |
20 | 283332 - Compression Spring | Add To Cart | |
21 | 284410 - left Torsion Spring | Add To Cart | |
22 | 284411 - right Torsion Spring | Add To Cart | |
23 | 284413 - Torsion Spring | Add To Cart | |
24 | 422155 - Handle Grip | Add To Cart | |
25 | 422158 - Handle Grip | Add To Cart | |
26 | 603042 - Lower Arm Linkage | Add To Cart | |
27 | 603593 - 9861 Deck right Linkage Arm | Call For Details | |
28 | 644498 - 9861 Lift Arm | Call For Details | |
29 | 644523 - Lower Latch Lift Lever | Add To Cart | |
30 | 603589 - 96 Series Arm Assembly Mount | Add To Cart | |
31 | 720121 - Rod Lever Clip | Add To Cart | |
32 | 723010 - Lower Latch Guide | Add To Cart | |
33 | 723013 - Upper Latch Guide | Add To Cart | |
34 | 726094 - Deck Tilt Lever Mount | Call For Details | |
35 | 730368 - Tilt Lever Rod | Add To Cart | |
36 | 730433 - Deck Mount Latch Pin | Add To Cart | |
37 | 733011 - Deck Lift Tilt Lever | Add To Cart | |
38 | 755035 - Tilt Lever Arm Latch | Add To Cart | |
39 | 782580 - Tilt Lever Linkage Strap | Add To Cart | |
40 | 824559 - Drilled Latch | Add To Cart | |
41 | 824562 - right SL Deck Latch Pin | Add To Cart | |
42 | 824563 - left SL Deck Latch Pin | Add To Cart | |
43 | 423110 - Rod Retainer | Add To Cart | |
44 | 881111 - Tilt Arm Shaft | Add To Cart | |
45 | 902275 - Spacer | Add To Cart | |
46 | 902279 - Tilt Latch Spacer | Add To Cart | |
47 | 902287 - Latch Guide Spacer | Add To Cart | |
48 | 830045 - Dome Head Bolt | Add To Cart | |
49 | 261362 - Clevis Pin | Add To Cart | |
50 | 262950 - Push-On Retainer | Add To Cart | |
51 | 257040 - Washer | Add To Cart | |
52 | 260523 - Hair Pin | Add To Cart |