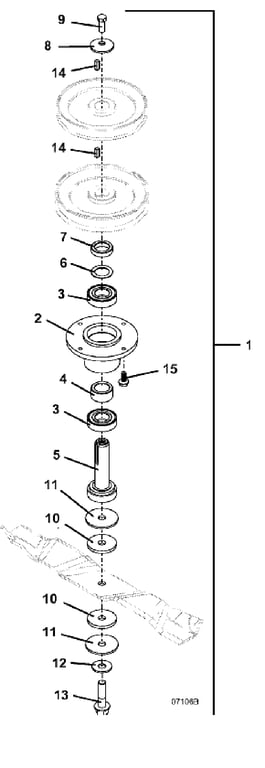
M1 Blade Spindle Assembly - 2013
Click On a Part Number Below for Details
NOTE: If the part number you select is not linked to the shopping cart,call toll-free 866-698-4070 for availability.
Item # | Part Number - Description | Price | |
---|---|---|---|
1 | 623758 - M1 Rear Blade Spindle Assembly | Add To Cart | |
2 | 320520 - M1R Decks Spindle Housing | Call For Details | |
3 | 110080 - Ball Bearing | Add To Cart | |
4 | 282630 - Spacer | Add To Cart | |
5 | 605770 - Spindle Shaft Assembly | Add To Cart | |
6 | 257106 - Washer | Add To Cart | |
7 | 282615 - Spacer | Add To Cart | |
8 | 257041 - Cupped Washer | Add To Cart | |
9 | 243331 - Hex Bolt | Add To Cart | |
10 | 421200 - Fiber Washer | Add To Cart | |
11 | 257061 - Washer | Add To Cart | |
12 | 257057 - Hardened Blade Spindle Washer | Add To Cart | |
13 | 243583 - Grade 8 Flange Hex Bolt | Add To Cart | |
14 | 281580 - Key Square | Add To Cart | |
15 | 253192 - Hex Flange Bolt Whiz | Add To Cart |