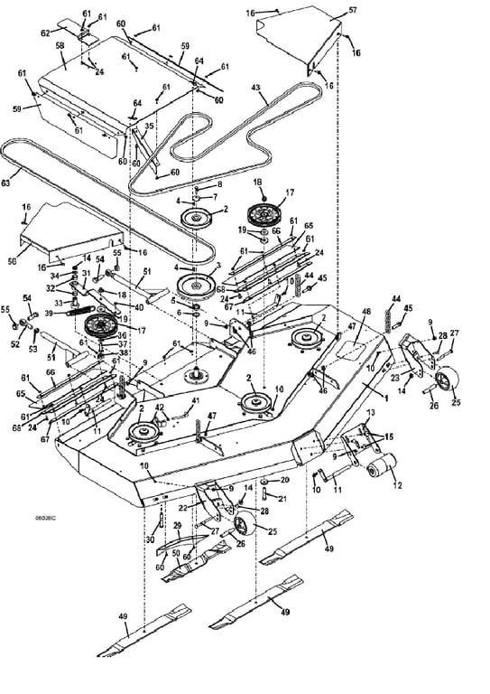
M1 Deck Assembly - M172R - 2013
Click On a Part Number Below for Details
NOTE: If the part number you select is not linked to the shopping cart,call toll-free 866-698-4070 for availability.
Item # | Part Number - Description | Price | |
---|---|---|---|
1 | 645172 - M172R Deck | Call For Details | |
2 | 415892 - Sheave | Add To Cart | |
3 | 831538 - Sheave for 322D and 430D | Add To Cart | |
- | 415908 - Sheave for 227, 325D, 327 EFI, 329, 335B, and 432 | Add To Cart | |
4 | 281580 - Square Key | Add To Cart | |
5 | 282615 - Spacer | Add To Cart | |
6 | 257106 - Washer | Add To Cart | |
7 | 257041 - Cupped Washer | Add To Cart | |
8 | 243331 - Hex Bolt | Add To Cart | |
9 | 253035 - Whiz Nut | Add To Cart | |
10 | 253192 - Hex Flange Bolt Whiz | Add To Cart | |
11 | 644512 - Roller Lock Pin | Add To Cart | |
12 | 603725 - Center 2 Piece Roller Assembly | Add To Cart | |
13 | 755071 - Roller Mount | Add To Cart | |
14 | 253043 - Whiz Nut | Add To Cart | |
15 | 247253 - Carriage Bolt | Add To Cart | |
16 | 253175 - Hex Bolt Whiz | Add To Cart | |
17 | 393250 - Idler | Add To Cart | |
18 | 253067 - Flange Spiral Lock Nut | Add To Cart | |
19 | 883804 - Washer | Add To Cart | |
20 | 257059 - Washer | Add To Cart | |
21 | 243590 - Hex Bolt | Add To Cart | |
22 | 645580 - Anti-Scalp Roller RT Mount | Add To Cart | |
23 | 645579 - Anti-Scalp Roller LT Mount | Add To Cart | |
24 | 253177 - Bolt Whiz Truss | Add To Cart | |
25 | 484230 - Anti-Scalp Center Hub Wheel | Add To Cart | |
26 | 942137 - Tube Bearing | Add To Cart | |
27 | 247310 - Carriage Bolt | Add To Cart | |
28 | 247135 - Carriage Bolt | Add To Cart | |
29 | 645570 - Bolt in Shroud - m161R | Call For Details | |
30 | 243365 - Hex Bolt | Add To Cart | |
31 | 824466 - Idler Arm - M161 & 72R | Call For Details | |
32 | 121756 - Oilite Bearing | Add To Cart | |
33 | 121650 - Pedestal Bearing | Add To Cart | |
34 | 257040 - Washer | Add To Cart | |
35 | 722885 - Deflector - Shield Discharge | Add To Cart | |
36 | 257062 - Washer | Add To Cart | |
37 | 243575 - Hex Bolt | Add To Cart | |
38 | 423670 - Idler Arm Stabilizer Cap | Add To Cart | |
39 | 283848 - Extension Spring | Add To Cart | |
40 | 422520 - Nylon Bearing | Add To Cart | |
41 | 730391 - Idler Adjustment 'J' Bolt | Add To Cart | |
42 | 254450 - Nut | Add To Cart | |
43 | 382098 - Belt | Add To Cart | |
44 | 820331 - 5 Links M1 Chain | Add To Cart | |
45 | 243458 - Hex Bolt GR 8 | Add To Cart | |
46 | 253058 - Nut Whiz | Add To Cart | |
47 | 254431 - Speed Nut | Add To Cart | |
48 | 420904 - Foot Rest Ext Tread | Add To Cart | |
49 | 320250 - 25 Med Lift Blade | Call For Details | |
50 | 320240 - 18 Hi-Low Mulch Blade | Call For Details | |
51 | 604673 - Radius Arm for M1 400 | Add To Cart | |
- | 604675 - Radius Arm Assembly for M1 200 and 300B | Add To Cart | |
- | 604676 - Radius Arm Assembly for M1 300 (NOT 300B) | Add To Cart | |
52 | 265665 - Rod End | Add To Cart | |
53 | 254493 - Nut | Add To Cart | |
54 | 243810 - Hex Bolt | Add To Cart | |
55 | 253970 - Lock Nut | Add To Cart | |
56 | 723330 - M1 72 RT Belt Shield | Add To Cart | |
57 | 723331 - M1 72 LT Belt Shield | Add To Cart | |
58 | 645759 - M1R Discharge Shield | Add To Cart | |
59 | 424225 - Shield Side Flap | Add To Cart | |
60 | 253176 - Bolt Whiz Truss | Add To Cart | |
61 | 253025 - Nut Whiz | Add To Cart | |
62 | 766015 - Shield Holder | Add To Cart | |
63 | 382072 - Belt for 227 | Add To Cart | |
- | 382078 - Belt for 432 | Call For Details | |
- | 382081 - Belt for 327 EFI and 335B | Add To Cart | |
- | 382089 - Belt for 322D | Call For Details | |
- | 382091 - Belt for 430D | Add To Cart | |
- | 382092 - Belt for 325D and 329 | Add To Cart | |
64 | 260523 - Hair Pin | Add To Cart | |
65 | 424227 - M172R Deck Flap | Add To Cart | |
66 | 782355 - M172R Flap Strap | Call For Details | |
67 | 766082 - Deflector | Call For Details | |
68 | 766085 - Flap Extension | Call For Details |