Model 8, 8F, & 12F Triple Bag Mount Kit - 600 Series
Click On a Part Number Below for Details
NOTE: If the part number you select is not linked to the shopping cart,Call Toll-Free 866-698-4070 for availability.
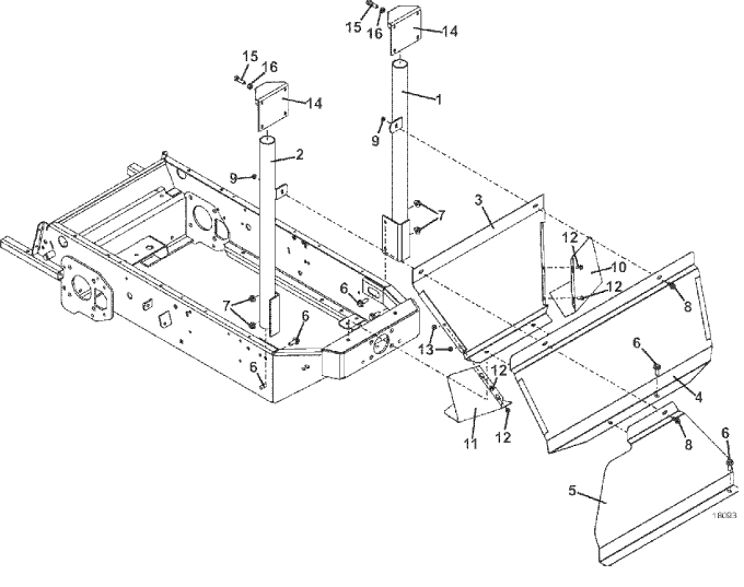
| Item # | Part Number - Description | Price | |
|---|---|---|---|
| 1 | 643884 - 600T Model 7F Right Frame Support | Add To Cart | |
| 2 | 643885 - 600T Model 7F Left Frame Support | Call For Details | |
| 3 | 723289 - Dual Bag Heat Shield | Call For Details | |
| 4 | 722552 - 600 8/12F Bag Shield | Call For Details | |
| 5 | 722557 - 600 3 Bag Extension Shield | Call For Details | |
| 6 | 253203 - Flanged Whiz Bolt | Add To Cart | |
| 7 | 253043 - Whiz Nut | Add To Cart | |
| 8 | 253192 - Hex Flange Whiz Bolt | Add To Cart | |
| 9 | 253035 - Whiz Nut | Add To Cart | |
| 10 | 722398 - 618 / 620T Right Exhaust Deflector | Call For Details | |
| 11 | 722399 - 618 / 620T Left Exhaust Deflector | Call For Details | |
| 12 | 253173 - Hex Whiz Bolt | Add To Cart | |
| 13 | 253025 - Whiz Nut | Add To Cart | |
| 14 | 643115 - Grasscatcher Top Bracket | Add To Cart | |
| 15 | 243335 - Hex Bolt | Add To Cart | |
| 16 | 254450 - Nut | Add To Cart |