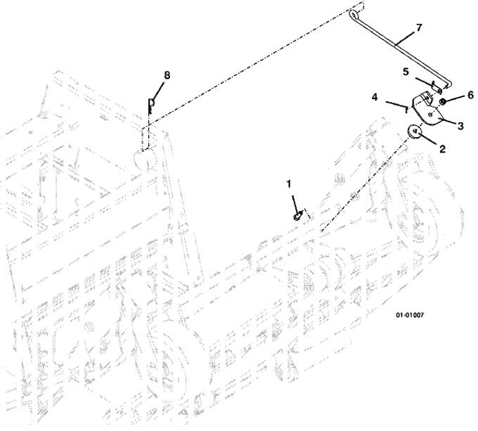
Stabilizer Rod Assembly Grasshopper 9852 Deck - 2003
Click On a Part Number Below for Details
NOTE: If the part number you select is not linked to the shopping cart, call toll-free 866-698-4070 for availability.
Item # | Part Number - Description | Price | |
---|---|---|---|
1 | 243330 - Hex Bolt | Add To Cart | |
2 | 883801 - Washer | Add To Cart | |
3 | 725017 - 98 series Rod Mount Plate | Add To Cart | |
4 | 260648 - Cotter Pin | Add To Cart | |
5 | 720121 - Lever Rod Clip | Add To Cart | |
6 | 253890 - Lock Nut | Add To Cart | |
7 | 321275 - SL Decks Stabilizer Rod | Add To Cart | |
8 | 260523 - Hair Pin | Add To Cart |